食品篩粉機主要應用在食品、醫藥行業,因為該行業對衛生標準要求比較嚴格,要求整機為304或316不銹鋼材質,與物料接觸部分不允許有雜質污染,振動篩密封件配備食品衛生標準。食品篩粉機密封件材質要選擇硅膠材質。

食品篩粉機該設備干凈、衛生、無死角,全部進行剖光處理,完全達到食品衛生標準。

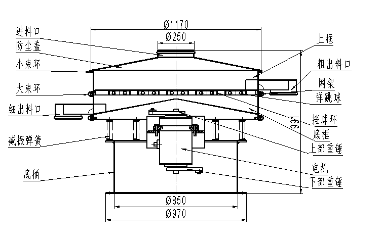
食品篩粉機是由立式電機作激振源,電機上、下兩端安裝有偏心重錘,將電機的旋轉運動轉變為水平、垂直、傾斜的三次元運動,再把這個運動傳遞給篩面。

1、效率高、精巧耐用,精類、粘液均可篩分。
2、換網容易、操作簡單、清洗方便。
3、可篩至500目或0.028mm。
4、可以連接作業。
5、獨特網架設計,篩網耐用,換網快,只需3-5分鐘。
6、體積小,移動方便。
7、篩網高可以達到五層。

|
型 號 |
DH-600 |
DH-800 |
DH-1000 |
DH-1200 |
DH-1500 |
DH-1800 |
DH-2000 |
|
直徑mm |
Φ600 |
Φ800 |
Φ1000 |
Φ1200 |
Φ1500 |
Φ1800 |
Φ2000 |
|
篩網面積m |
0.24 |
0.45 |
0.67 |
1.0 |
1.6 |
2.43 |
3.01 |
|
篩網規格(目) |
2-500 |
||||||
|
進料粒度mm |
<Φ10 |
<Φ15 |
<Φ20 |
<Φ30 |
|||
|
振次rpm |
1500 |
1500 |
1500 |
1500 |
1500 |
1500 |
1500 |
|
有效篩面直mm |
Φ560 |
Φ760 |
Φ930 |
Φ1130 |
Φ1430 |
Φ1760 |
Φ1960 |
|
層數 |
1-5 |
||||||
|
功率Kw |
0.25 |
0.55 |
0.75 |
1.1 |
1.5 |
2.2 |
3 |
食品篩粉機常用型號有:直徑400mm、600mm、800mm、1000mm、1200mm、1500mm、1800mm

具體怎么選型號,客戶只需要把自己的產量、篩分目的、篩分物料名稱、以及過多少目的篩網,把這些數據給我們提供以下,我們有工程師團隊為您分析數據,推薦合理的篩分設備型號,絕不會讓您多花一分錢。

1.保修期內非因操作不當造成需要更換的零配件及設備由我廠負責包修、包換。
2.質量保證期結束后,我廠將繼續免費提供售后服務,不限年份終身服務,僅收取零部件成本費,免收人工費,免收維修費。
為了向您提供完善的售后服務,請將您的寶貴意見、建議及要求反饋給我廠。我們感謝貴單位使用我廠的產品,我廠建立有完整的營銷網絡及完善的售后服務體系,售后服務部已將您購買的產品建立了信息檔案。如果您購買的產品出現質量問題,我們將及時為您提供全方位的服務。